ZJHJ pneumatic diaphragm angle control valve

ZJHJ pneumatic diaphragm angle control valve
  • sell:021-32051999
  • sell:021-32050777
  • fax:021-66099555

Details

  • Product Introduction
  • Service Promise
  • Ordering Process


ZJHJ pneumatic film angle regulating valve adopts top guide structure to adjust pressure, flow rate, temperature, liquid level and other parameters. Small volume, light weight, less leakage, simple flow path, small resistance, used in high pressure difference, high viscosity, containing suspended substances and granular substances liquid regulation, can avoid coking, clogging, but also easy to self-cleaning and water cleaning, angle valve is generally used in the bottom in and out of the occasion, because this can make the regulation better. Stability.





Valve body part


Valve type: cast angle valve


Nominal diameter: DN25, 32, 40, 50, 65, 80, 100, 125, 150, 200


Nominal pressure: PN 1.6, 2.5, 4, 6.4, 10Mpa


ANSI 150, 300, 600Lb


JIS 10K, 20K, 30K


Connection: flange: FF, RF, RTJ, etc.


Welding: SW, BW


Flange spacing: IEC 534


Bonnet form: standard type, extended type (heat dissipation, low temperature, bellows seal).


Packing: V type PTFE, flexible graphite filler, etc.


Gasket: metal clip graphite gasket


Actuator: pneumatic: membrane multi-spring actuator pneumatic, pneumatic, double-acting cylinder actuator


Electric: ordinary 381L PSL, explosion-proof 381L series.


Positioner: electric valve positioner, intelligent digital positioner.


Accessories: solenoid valve, valve position feedback device, manual operation mechanism, position keeping valve, air filter regulator, etc.


Valve inner parts


Spool type: single seat and sleeve type spool.


Flow characteristics: equal percentage, linearity and fast opening.


Internal material: standard material combination and temperature and pressure range. Please refer to appendix.


Valve body material: WCB, WC9, CF8, CF8M, etc.


Valve cover material: WCB, WC9, CF8, CF8M


Spool material: 304, 304+STL/PTFE, 316, 316+STL/PTFE


Filler material: "V" type PTFE, flexible graphite, bellows.

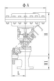
Main dimensions


公稱通徑 DN(mm)
L(mm)
H1( mm)
H(mm)
?A
1.6、2.5(MPa)
常溫
中溫
20
100
100
349
444
285
25
115
115
350
445
285
32
130
130
358
458
285
40
130
130
378
478
285
50
150
150
393
493
285
65
170
170
494
594
360
80
190
190
503
628
360
100
215
215
521
646
360
125
250
250
634
759
360
150
275
275
696
846
470
200
325
325
715
915
470


The best quality, first-class service Qigao creates more value for you!

"Qigao Valve" expects to continuously improve service quality and strive for excellence. "Sincere service" is the eternal theme of "Qigao". "Qigao" strictly followsIS09001-2000 Quality system certification requirements, strict quality control, responsibility to people, to ensure the healthy operation of production, sales and service. Strengthen communication with users and provide quality products to our customers with perfection and perfect service. Hereby our factory makes the following commitments:

Product Standards:

Products in strict accordance with ChinaGB、HG Standard and USAPISuch as standard design, manufacturing, acceptance. The hardness of the sealing surface meets the requirements of the state and the width exceeds the national standard.

pre-sale service:

Product introduction, technical exchange, non-standard product design, troubleshooting。

Sale service:

A trustworthy contract guarantees timely delivery and keeps in touch with customers. For special or duplicate products, our factory arranges technicians to use and troubleshoot the products for users.

After sales service:

1、"Qigao" brand product quality period is from the factory12In the month, the implementation of the "three guarantees" service (return, replacement, warranty).

2、During the use of our products, our factory regularly organizes technical and quality inspection personnel to visit and consult users for feedback on product quality, usage status and improvement opinions, so as to further improve product quality.

3、Respond quickly to the quality of user complaints, after-sales service personnel rushed to the scene in 24-36 hours (48 hours outside the province).

4、For after-sales service, users are required to fill out the quality feedback information form after the service and make an appraisal opinion in order to improve the service quality of Qigao.

1、If the customer has special requirements for the product, the following instructions must be provided in the order contract.:

a、Structure length;

b、Connection Type;

c、Nominal diameter, full diameter, reduced diameter, pipe size;

d、Operating medium and temperature, pressure range;

e、Tests, inspection standards and other requirements

2、The factory can configure various types of driving devices according to customer's specific requirements.。

3、If the type and model of the valve are determined by the customer, the customer shall correctly state the meaning and requirements of the model and sign the contract under the condition that the supplier and the buyer understand each other.

4、For futures and order customers, please call us in advance to tell the required valve model, specification, quantity, delivery time and location, and timely transfer to the factory account according to the total 30% deposit or full payment. The rest of the payment is pending. Import before shipment to arrange delivery in time.

 

Order Process:

1、Customer purchase list fax to021-33872143,Or call us 021-33872141

2、Receive customer purchase list, provide valve model selection and quotation (price list)。

3、Specific agreement: delivery date, special requirements, etc.。

download Google:

1、If the customer has special requirements for the product, the following instructions must be provided in the order contract.:

a、Structure length;

b、Connection Type;

c、Nominal diameter, full diameter, reduced diameter, pipe size;

d、Operating medium and temperature, pressure range;

e、Tests, inspection standards and other requirements

2、The factory can configure various types of driving devices according to customer's specific requirements.。

3、If the type and model of the valve are determined by the customer, the customer shall correctly state the meaning and requirements of the model and sign the contract under the condition that the supplier and the buyer understand each other.

4、For futures and order customers, please call us first to tell the required valve model, specifications, quantity, delivery time and location, and press the total30%The deposit or full payment will be remitted to our factory account in time., The rest of the payment will be remitted before shipment to arrange delivery in time.。

Sale service:

Trustworthy contract, guarantee timely delivery, keep in touch with customers at any time。

For special or duplicate products, our factory arranges technicians to use and troubleshoot the products for users.

After sales service:

1、"Qigao" product quality period is from the factory12Month, practiceThree packsService (return, replacement, warranty)。

2、During the use of our products, our factory regularly organizes technical and quality inspection personnel to visit and consult users for feedback on product quality, usage status and improvement opinions.,
In order to further improve product quality。

3、Respond quickly to the quality of user complaints, after-sales service personnel24-36Hours (outside the province48Hour) rushed to the scene。

4、For after-sales service, the user is required to fill out the quality feedback information form after the service and make an appraisal opinion in order to improve the service quality of “Qigao”.。

statement

  1. All text, data and pictures in this article are for reference only.ZJHJ pneumatic diaphragm angle control valvePlease contact us at 4000-700-665 for details of performance, size and price.
  2. If there is no explanation, this article is original, reprint, please indicate the address of this article, thank you for your cooperation!